
Sp45数字锁定平衡阀
- 质量稳定:实行全过程质量监控,细致入
微,全方位检测! - 价格合理:高效内部成本控制,减少了开
支,让利于客户! - 交货快捷:先进生产流水线,充足的备货,
缩短了交货期!
我们为您提供全套工程阀门解决方案销售热线:0510-82828883
邮箱:beifava@163.com
地址:江苏省无锡市新吴区新洲路222号
产品概述
Sp45数字锁定平衡阀是一种具有数字锁定特殊功能的调节型阀门,采用直流型阀体结构,具有更好的等百分比流量特性,能够合理地分配流量,有效地解决供热(空调)系统中存在的室温冷热不均问题。同时能准确地调节压降和流量,用以改善管网系统中液体流动状态,达到管网液体平衡和节约能源的目的。阀门设有开启度指示、开度锁定装置及用于流量测定的测压小阀,只要在各支路及用户入口装上适当规格的平衡阀,并用专用智能仪表进行一次性调试后锁定,将系统的总水量控制在合理的范围内,从而克服了“大流量,小温差”的不合理现象。该产品是供热系统中的理想产品。SP45平衡阀既可安装在供水管上,也可以安装在回水管上,一般我们建议安装在回水管上,尤其对于高温环路,为方便调试,更要装在回水管上,安装了平衡阀的供(回)水管不必再设截止阀。
技术参数
公称压力:1.6MPa(16kgf/c㎡)
适用温度:0~120℃
适用介质:水、油等非腐蚀性液体
法兰标准:GB/T 17241.6 GB/T 9113
试验标准:GB/T 13927 API598
主要零部件材料
|
零件名称
|
阀体、阀盖
|
阀杆
|
阀瓣
|
密封垫
|
|
材料
|
灰铸铁、球铁、铸钢
|
不锈钢
|
球墨铸铁
|
橡胶石棉板
|
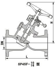
主要外形连接尺寸 单位:mm
|
SP45F-型
|
DN
|
32
|
40
|
50
|
65
|
80
|
100
|
125
|
150
|
200
|
250
|
300
|
350
|
SP15F-型
|
DN
|
15
|
20
|
25
|
32
|
40
|
|
L
|
180
|
200
|
230
|
290
|
310
|
350
|
400
|
480
|
550
|
622
|
698
|
787
|
ZG
|
1/2"
|
3/4"
|
1"
|
5/4"
|
3/2"
|
||
|
L
|
100
|
115
|
125
|
140
|
160
|
|||||||||||||||
|
H
|
230
|
242
|
250
|
260
|
329
|
340
|
424
|
454
|
517
|
573
|
617
|
705
|
H
|
128
|
128
|
130
|
150
|
187
|
产品尺寸

