
A72W0P/R真空负压安全阀
- 质量稳定:实行全过程质量监控,细致入
微,全方位检测! - 价格合理:高效内部成本控制,减少了开
支,让利于客户! - 交货快捷:先进生产流水线,充足的备货,
缩短了交货期!
我们为您提供全套工程阀门解决方案销售热线:0510-82828883
邮箱:beifava@163.com
地址:江苏省无锡市新吴区新洲路222号
产品用途
A72W0P/R真空负压安全阀适用于温度≤200℃的负压系统,当容器内负压超过允许值时,真空负压安全阀自动开启,吸入空气;当容器内负压达到允许值时,真空负压安全阀自动关闭,从而保护设备及系统。安装在正常非负压系统,当容器和系统的放散阀未打开,产生负压时,此阀自动开启。
主要零部件材料
| NO. | 零件名称 | HFA72W-P 材料 | HFA72W-R 材料 |
| 1 | 阀体 | ZG1Cr18Ni9Ti | ZG1Cr18Ni12Mo2Ti |
| 2 | 阀座 | 1Cr18Ni9Ti | ZG1Cr18Ni12Mo2Ti |
| 3 | 调节阀 | 1Cr18Ni9Ti | 1Cr18Ni12Mo2Ti |
| 4 | 阀盖 | ZG1Cr18Ni9Ti | 1Cr18Ni9Ti |
| 5 | 阀杆 | 1Cr18Ni9Ti | 1Cr18Ni12Mo2Ti |
| 6 | 弹簧 | 50CrVA | 50CrVA 包覆氟塑料 |
主要性能规范
| 工作温度 | ≤200℃ |
| 适用介质 | HFA72W0P适用于硝酸类介质 |
| HFA72W0R适用于醋酸类介质 |
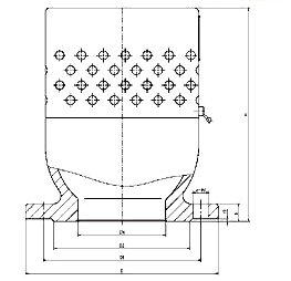
外形尺寸和连接尺寸(mm)
| 公称通径DN(mm) | 尺寸 (mm) | ||||||
| D | D1 | D2 | Z-Фd | b | f1 | H | |
| 15 | 95 | 65 | 45 | 44 | 14 | 2 | 110 |
| 20 | 105 | 75 | 55 | 44 | 16 | 2 | 130 |
| 25 | 115 | 85 | 65 | 44 | 16 | 2 | 150 |
| 32 | 140 | 100 | 78 | 48 | 18 | 2 | 180 |
| 40 | 150 | 110 | 85 | 48 | 18 | 3 | 200 |
| 50 | 165 | 125 | 100 | 48 | 20 | 3 | 221 |
| 80 | 200 | 160 | 135 | 48 | 22 | 3 | 245 |
| 100 | 220 | 180 | 155 | 88 | 22 | 3 | 253 |
| 125 | 250 | 210 | 185 | 88 | 24 | 3 | 280 |
| 150 | 285 | 240 | 210 | 8-23 | 24 | 3 | 329 |
| 200 | 340 | 295 | 265 | 8-23 | 26 | 3 | 377 |
| 250 | 395 | 350 | 320 | 12-23 | 28 | 3 | 440 |
产品尺寸

