
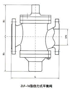
ZLF-16型自力式平衡阀
- 质量稳定:实行全过程质量监控,细致入
微,全方位检测! - 价格合理:高效内部成本控制,减少了开
支,让利于客户! - 交货快捷:先进生产流水线,充足的备货,
缩短了交货期!
我们为您提供全套工程阀门解决方案销售热线:0510-82828883
邮箱:beifava@163.com
地址:江苏省无锡市新吴区新洲路222号
产品特点及用途
ZLF6型自力式平衡阀,是一种利用介质自身的压力变化进行自我控制而保持流经该被控系统流量不变的阀门,并具有流量指示,调节方便,适用于供热空调等非腐蚀性介质的流量控制。运行前一次性调节。即可使系统流量自动恒定在要求的高寒值。
主要技术参数
| 型号 | 公称压力 | 壳体试验压力 | 使用介质 | 介质温度 |
| ZL47F6 | 1.6MPa | 2.4 MPa | 水、油等非腐蚀性液体 | 0~100℃ |
主要外形尺寸 (法兰连接PN1.6Mpa按JB、T79-94标准)
| DN | 15 | 20 | 25 | 32 | 40 | 50 | 65 | 80 | 100 | 125 | 150 | 200 | 250 | 300 | 350 | 备注 |
| L | 110 | 110 | 115 | 160 | 200 | 215 | 230 | 275 | 290 | 310 | 350 | 430 | 520 | 635 | 670 | DN15~25 为螺纹连接 |
| H1 | 72 | 72 | 81 | 108 | 138 | 138 | 143 | 170 | 193 | 208 | 254 | 289 | 325 | 357 | 372 | |
| H2 | 70 | 70 | 74 | 91 | 147 | 147 | 154 | 189 | 211 | 227 | 260 | 303 | 367 | 430 | 495 | |
| 流量m3/h | 0.1~1 | 0.1~1.5 | 0.2~2 | 0.5~4 | 1~6 | 2~10 | 3~15 | 5~25 | 10~35 | 15~50 | 30~80 | 40~180 | 100~300 | 150~500 | 200~ 700 |
产品尺寸

