
Q41F不锈钢浮动球阀
- 质量稳定:实行全过程质量监控,细致入
微,全方位检测! - 价格合理:高效内部成本控制,减少了开
支,让利于客户! - 交货快捷:先进生产流水线,充足的备货,
缩短了交货期!
我们为您提供全套工程阀门解决方案销售热线:0510-82828883
邮箱:beifava@163.com
地址:江苏省无锡市新吴区新洲路222号
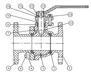
产品概述
球阀是一种重要的阀类,在石油化工、长输管线等领域有广泛应用。球阀的关闭件是一个带孔的球体(或部分球),球体随阀杆转动,实现阀门的开启或关闭。
在各种阀门中,球阀的流动阻力最小,全径球阀打开时,球体通道、阀体通道和连接管径相等并成一直径,介质几乎可以毫无损失的流过。
球阀旋转90°即可全关全开,启闭迅速。与相同规格的闸阀、截止阀比较、球阀体积小、重量轻,便于管道安装。
主要性能规范
|
设计与制造
|
结构长度
|
法兰尺寸
|
压力-温度
|
试验-检验
|
|
GB122237
|
GB12221
|
GB9113 JB79
|
GB9131
|
GB/T13927 JB/T9092
|
压力试验
|
公称压力
|
1.6
|
2.5
|
4.0
|
|
强度试验
|
2.4
|
3.8
|
6.0
|
|
水密封试验
|
1.8
|
2.8
|
4.4
|
|
气密封试验
|
0.4-0.7
|
||
主要零件材料
|
阀体
|
ZG1Cr18Ni9Ti
|
CF8
|
CF3
|
ZG1Cr18Ni12Mo2Ti
|
CF8M
|
CF3M
|
|
|
球体 阀杆
|
|
1Cr18Ni9Ti
|
304
|
304L
|
1Cr18Ni12Mo2Ti
|
316
|
316L
|
|
阀 座
|
聚四氟乙烯PTFE 加坡纤增强聚四氟乙烯PTFE+Glass 对位聚笨PPL
|
||||||
|
垫片
|
聚四氟乙烯PTFE 不锈钢/柔性石墨
|
||||||
|
阀杆座
|
聚四氟乙烯PTFE 不锈钢/柔性石墨
|
||||||
|
填料
|
聚四氟乙烯PTFE 增强柔性石墨
|
||||||
|
填料压盖
|
|
1Cr18Ni9Ti
|
304
|
304L
|
1Cr18Ni12Mo2Ti
|
316
|
316L
|
|
温度
|
-29~150(聚四氟乙烯 PTFE) -29~200(加玻纤增强聚四氟乙烯 PTFE+GLASS) -29~300(对位聚笨 PPL)
|
||||||
|
介质
|
水 蒸汽 油品
|
硝酸类
|
强氧化介质
|
醋酸类
|
尿素类
|
||
主要外型尺寸
|
1.6MPa
|
DN
|
L
|
D
|
D1
|
D2
|
b
|
n-φd
|
H
|
D0
|
|
凸面法兰
RF Q41F
Q41PPL
16C
16P
16R
|
15
|
130
|
95
|
65
|
45
|
14
|
44
|
78
|
140
|
|
20
|
140
|
105
|
75
|
55
|
14
|
44
|
84
|
160
|
|
|
25
|
150
|
115
|
85
|
65
|
14
|
44
|
95
|
180
|
|
|
32
|
165
|
135
|
100
|
78
|
16
|
48
|
150
|
250
|
|
|
40
|
180
|
145
|
110
|
85
|
16
|
48
|
150
|
300
|
|
|
50
|
200
|
160
|
125
|
100
|
18
|
48
|
170
|
350
|
|
|
65
|
220
|
180
|
145
|
120
|
20
|
48
|
195
|
350
|
|
|
80
|
250
|
195
|
160
|
135
|
20
|
88
|
215
|
400
|
|
|
100
|
280
|
215
|
180
|
155
|
20
|
88
|
250
|
500
|
|
|
125
|
320
|
245
|
210
|
185
|
22
|
88
|
265
|
600
|
|
|
150
|
360
|
280
|
240
|
210
|
24
|
8-23
|
270
|
800
|
|
|
200
|
400
|
335
|
295
|
265
|
26
|
12-23
|
330
|
1200
|
|
|
2.5MPa
|
15
|
130
|
95
|
65
|
45
|
16
|
44
|
103
|
140
|
|
凸面法兰
RF
Q41F
Q41PPL
25
25P
25R
|
20
|
140
|
105
|
75
|
55
|
16
|
44
|
112
|
160
|
|
25
|
150
|
115
|
85
|
65
|
16
|
44
|
123
|
180
|
|
|
32
|
165
|
135
|
100
|
78
|
18
|
48
|
150
|
250
|
|
|
40
|
180
|
145
|
110
|
85
|
18
|
48
|
156
|
300
|
|
|
50
|
200
|
160
|
125
|
100
|
20
|
88
|
172
|
350
|
|
|
65
|
220
|
180
|
145
|
120
|
22
|
88
|
197
|
350
|
|
|
80
|
250
|
195
|
160
|
135
|
22
|
8-23
|
222
|
400
|
|
|
100
|
280
|
230
|
190
|
160
|
24
|
8-23
|
253
|
500
|
|
|
125
|
320
|
270
|
220
|
188
|
28
|
8-25
|
275
|
600
|
|
|
150
|
360
|
300
|
250
|
218
|
30
|
8-25
|
286
|
800
|
|
|
200
|
400
|
360
|
310
|
278
|
34
|
12-25
|
340
|
1200
|
规格主要尺寸
|
4.0MPa
|
DN
|
L
|
D
|
D1
|
D2
|
D6
|
b
|
n-φd
|
H
|
D0
|
|
凹凸法兰
MFM
Q41F
Q41PPL
40
40P
40R
|
15
|
130
|
95
|
65
|
45
|
40
|
16
|
44
|
103
|
140
|
|
20
|
140
|
105
|
75
|
55
|
51
|
16
|
44
|
112
|
160
|
|
|
25
|
150
|
115
|
85
|
65
|
58
|
16
|
44
|
123
|
160
|
|
|
32
|
180
|
135
|
100
|
78
|
66
|
18
|
48
|
150
|
250
|
|
|
40
|
200
|
145
|
110
|
85
|
76
|
18
|
48
|
156
|
250
|
|
|
50
|
220
|
160
|
125
|
100
|
88
|
20
|
48
|
172
|
350
|
|
|
65
|
250
|
180
|
145
|
120
|
110
|
22
|
88
|
197
|
350
|
|
|
80
|
280
|
195
|
160
|
135
|
121
|
22
|
88
|
222
|
450
|
|
|
100
|
320
|
230
|
190
|
160
|
150
|
24
|
8-23
|
253
|
450
|
|
|
125
|
400
|
270
|
220
|
188
|
176
|
28
|
8-25
|
275
|
600
|
|
|
150
|
400
|
300
|
250
|
218
|
204
|
30
|
8-25
|
286
|
800
|
|
|
200
|
550
|
375
|
320
|
282
|
260
|
38
|
12-30
|
340
|
1200
|
|
|
6.4MPa
|
15
|
165
|
105
|
75
|
55
|
40
|
18
|
44
|
105
|
140
|
|
凹凸法兰
MFM
Q41F
Q41PPL
64
64P
64R
|
20
|
190
|
125
|
90
|
68
|
51
|
20
|
48
|
125
|
160
|
|
25
|
216
|
135
|
100
|
78
|
58
|
22
|
48
|
135
|
250
|
|
|
32
|
229
|
150
|
110
|
82
|
66
|
24
|
4-23
|
150
|
350
|
|
|
40
|
241
|
165
|
125
|
95
|
76
|
24
|
4-23
|
165
|
350
|
|
|
50
|
292
|
175
|
135
|
105
|
88
|
26
|
4-23
|
175
|
450
|
|
|
65
|
330
|
200
|
160
|
130
|
110
|
28
|
8-23
|
200
|
450
|
|
|
80
|
356
|
210
|
170
|
140
|
121
|
30
|
8-23
|
210
|
600
|
|
|
100
|
432
|
250
|
200
|
168
|
150
|
32
|
8-25
|
250
|
700
|
|
|
125
|
508
|
295
|
240
|
202
|
176
|
36
|
8-30
|
295
|
1100
|
|
|
150
|
559
|
340
|
280
|
240
|
204
|
38
|
8-34
|
340
|
1500
|
产品尺寸

