
CS19H6C热动力式蒸汽疏水阀
- 质量稳定:实行全过程质量监控,细致入
微,全方位检测! - 价格合理:高效内部成本控制,减少了开
支,让利于客户! - 交货快捷:先进生产流水线,充足的备货,
缩短了交货期!
我们为您提供全套工程阀门解决方案销售热线:0510-82828883
邮箱:beifava@163.com
地址:江苏省无锡市新吴区新洲路222号
主要特点
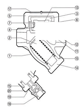
结构简单、价格低、动作可靠。漏气率<3%,不受压力波动的影响、压力范围大。由于密封面采用不锈钢制造,使用寿命高于国内同类产品。
热动力式蒸汽疏水阀 排水量(㎏/h)
| 产品型号 | DN | 工 作 压 差 (MPa) | ||||||
| 0.05 | 0.15 | 0.4 | 0.6 | 1.0 | 1.6 | 2.5 | ||
| CS19H6C CS49H6C CS69H6C | 15.20.25 | 150 | 280 | 400 | 475 | 600 | 800 | |
| 32.40.50 | 550 | 650 | 900 | 1200 | 1700 | 2100 | ||
| CS19H-25 CS49H-25 CS69H-25 | 15.20.25 | 17417 | 1828 | 2536 | 2701 | 3202 | 3581 | |
| 32.40 | 56 | 119 | 321 | 470 | 534 | |||
| 50 | 1800 | 2050 | 2600 | 3000 | 3500 | 4300 | 5000 | |
| CS19H-40 CS49H-40 CS69H-40 | 15.20.25 | 56 | 119 | 320 | 470 | 534 | ||
| 32.40.50 | 1800 | 2050 | 2600 | 3000 | 3500 | 4300 | 5000 | |
主要零件材料
| 阀 体 | 锻 钢 |
| 阀 帽 | 不锈钢 |
| 阀 盖 | 锻 钢 |
| 阀 片 | 不锈钢 |
| 阀体密封面 | 不锈钢 |
主要外形及连接尺寸
| 产品型号 | DN | 螺纹连接 | 承插焊连接 | 重量㎏ | 法兰连接 | 重量㎏ | |||||||||||||||
| Rc | L | H | H1 | L | H | H1 | D′ | t | L | H | H1 | D | K | d | c | f | N-ф | ||||
| (mm) | (mm) | (mm) | |||||||||||||||||||
| CS19H6/25C CS49H6/25C CS69H6/25C | 15 | 1/2 | 75 | 57 | 35 | 75 | 57 | 35 | 23 | 7 | 1.23 | 150 | 57 | 35 | 95 | 65 | 45 | 14 | 2 | 44 | 3.13 |
| 20 | 3/4 | 85 | 60 | 43 | 85 | 60 | 43 | 28 | 7 | 1.32 | 150 | 60 | 43 | 105 | 75 | 55 | 14 | 2 | 44 | 3.70 | |
| 25 | 1 | 95 | 68 | 50 | 95 | 68 | 50 | 33 | 10 | 1.67 | 160 | 68 | 50 | 115 | 85 | 65 | 14 | 2 | 44 | 4.78 | |
| 32 | 11/4 | 105 | 90 | 80 | 105 | 90 | 80 | 42 | 12 | 6.7 | 200 | 90 | 80 | 135 | 100 | 78 | 16 | 2 | 48 | 10.8 | |
| 40 | 11/2 | 110 | 90 | 80 | 110 | 90 | 80 | 52 | 12 | 6.9 | 230 | 90 | 80 | 145 | 110 | 85 | 16 | 3 | 48 | 10.84 | |
| 50 | 2 | 170 | 95 | 87 | 130 | 95 | 87 | 62 | 12 | 7.7 | 230 | 95 | 87 | 160 | 125 | 100 | 16 | 3 | 48 | 13.62 | |
| CS19H-40 CS49H-40 CS69H-40 | 15 | 1/2 | 75 | 61 | 41 | 75 | 61 | 41 | 23 | 9 | 1.23 | 150 | 61 | 41 | 95 | 65 | 45 | 16 | 2 | 44 | 3.13 |
| 20 | 3/4 | 85 | 64 | 45 | 85 | 64 | 45 | 28 | 12 | 1.32 | 150 | 64 | 45 | 105 | 75 | 55 | 16 | 2 | 44 | 3.70 | |
| 25 | 1 | 95 | 68 | 45 | 95 | 68 | 45 | 33 | 15 | 1.67 | 160 | 68 | 45 | 115 | 85 | 65 | 16 | 2 | 44 | 4.78 | |
| 32 | 11/4 | 105 | 81 | 56 | 105 | 81 | 56 | 40 | 15 | 6.7 | 200 | 81 | 56 | 135 | 100 | 78 | 18 | 2 | 48 | 11.7 | |
| 40 | 11/2 | 110 | 81 | 56 | 110 | 81 | 56 | 50 | 15 | 6.82 | 230 | 81 | 56 | 145 | 110 | 85 | 18 | 3 | 48 | 11.82 | |
| 50 | 2 | 120 | 89 | 64 | 120 | 89 | 64 | 60 | 20 | 7.62 | 230 | 89 | 64 | 160 | 125 | 100 | 20 | 3 | 48 | 14.14 | |
产品结构

