
GCQ型自清洗式水过滤器
- 质量稳定:实行全过程质量监控,细致入
微,全方位检测! - 价格合理:高效内部成本控制,减少了开
支,让利于客户! - 交货快捷:先进生产流水线,充足的备货,
缩短了交货期!
我们为您提供全套工程阀门解决方案销售热线:0510-82828883
邮箱:beifava@163.com
地址:江苏省无锡市新吴区新洲路222号
产品用途
本产品适用于造纸、钢铁、化工、发电和环保等需连续用水的场合,用于滤除水体中的固态颗粒和杂质,确保其后续或终端设备能顺利运行,是一种先进、高效且易操作的全自动过滤装置。
结构特点与工作原理
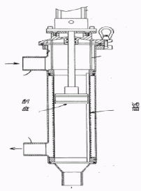
GCQ型自清洗式水过滤器由壳体、多元滤芯、反冲洗机构、电控箱、减速机、电动阀门和差压控制器等部分组成。壳体内的横隔板将其内腔分为上、下两腔,上腔内配有多个过滤芯,这样充分利用了过滤空间,显著缩小了过滤器的体积,下腔内安装有反冲洗吸盘。工作时,浊液经入口进入过滤器下腔,又经隔板孔进入滤芯的内腔。大于过滤芯缝隙的杂质被截留,净液穿过缝隙到达上腔,最后从出口送出。
本过滤器滤芯采用高强度的Johnson楔形滤网,通过压差控制、定时控制自动清洗滤芯。当过滤器内杂质积聚在滤芯表面引起进出口压差增大到设定值,一般设定值为0.04MPa,或定时器达到预置时间时,电动控制箱发出信号,驱动反冲洗机构。当反冲洗吸盘口与滤芯进口正对时,排污阀打开,此时系统泄压排水,吸盘与滤芯内侧出现一个相对压力低于滤芯外侧水压的负压区,迫使部分净水从滤芯外侧流入滤芯内侧,吸附在滤芯内壁上的杂质微粒随水流进吸盘内并从排污阀排出。特殊设计的Johnson网使得滤芯内部产生喷射效果,任何杂质都将被从光滑的内壁上冲走。当过滤器进出口压差恢复正常或定时器设定时间结束,电机停止运转,电动排污阀关闭。整个过程中,物料不断流,反洗耗水量少,实现了连续化,自动化生产。
产品结构

